驾校通SaaS
首页
使用手册
财务管理
文章
票据打印记录
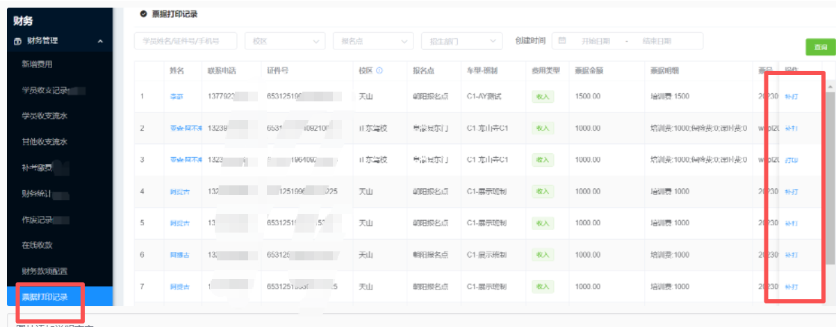
财务管理-票据打印记录
对于财务历史应打/已打票据进行记录,并提供补打按钮以防票据需要补打
找到对应的学员和缴费记录,点击操作里面的补打即可
2026-03-23
本页目录