驾校通SaaS
首页
使用手册
新约课管理
文章
约课学员管理
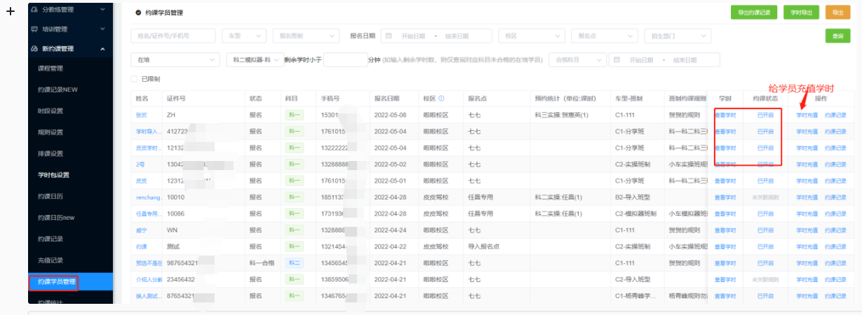
约课管理-约课学员管理
约课学员管理(查询约课学员信息,可通过此界面查看学员学时,约课状态、学时充值等)
2023-06-12
本页目录