统计报表-招生统计
招生统计从多角度多维度去统计驾校的招生情况,小到个人招生,大到部门的招生都能进准的统计到,在通过分析这些数据,对招生好的地方花时间花精力去研究,从而更好的获得生源。
1. 招生统计
1)招生统计是从多角度去统计招生的数据,常用的有按日期统计,按介绍人统计,按报名点统计,按班级统计等,除了上面说的,系统里做了这块更多的详细统计,校区、部门、来源等统计,再结合右上角的日期和天周月年的选择,获取到直观的招生数据,例如截图里的按月展示本年的,每月招生多少清晰可见

2)在我们右上角的三个杠里面还有统计的条件选择,能更好的帮助驾校统计不同情况下的学员,不统计结业的,不统计退学的等等,条件自己选择,统计不同情况下的招生数

3)招生部门的统计里面有汇总和明细两个部分,明细里各级部门的招生数都有展示

统计报表-考试统计:
2. 考试统计
考试统计主要统计每天的考试情况,学员的考试合格率,教练的合格率等,系统里还有约考统计和考场统计,我们来通过下图看下一下,截图是我们的每天的考试统计,也是我们的第一个菜单,这里展示每天每个科目的考试人数,合格不合格人数等等,直观展示每天的考试情况和每个科目的通过率,需要详细的考试学员信息,只需要点蓝色的数字就能查看

1)约考统计是按照教练去统计每个教练一个时间段内的约考学员数量,从而去分析教练的待考学员数量,来制定合理的培训计划

2)教练合格率和考试合格率是统计教练和学员的合格率,教练合格率可以按照单科目查询,也可以全段查询,例如在本月汪芬芬教练的目前考试一人,通过一人合格率是100%,另外系统中还统计了一次合格率和补考合格率,进一步做数据分析,通过了解教练的合格率来了解培训的情况,合格率高的教练是怎么做的,其他教练是不是可以学习,持续合格率低的教练是哪里有问题,可不可以换个岗位来做一下,从而帮助驾校做好培训的把关;

3)科目合格就是统计考试学员的每个科目整体合格率,另外补考合格率也一并统计出来,这里可以按照日期校区报名点等去选择查看对应的合格率,例如有驾校想看本月的科目一首次合格率,系统里直接显示出来了考20人合格20人,合格率100%,很直观;

4)考场合格率顾名思义就是统计考场的合格率,这边可以帮助驾校分析哪个考场的通过率高,再结合学员的反馈了解是不是有些考场设备有问题,或者程序调整考试难度不一样,从而知道哪些考场是首选预约的,哪些是不要预约的,通过这里的分析也可以帮助驾校提升部分通过率

统计报表-培训统计:
3. 培训统计
1)主要是结合约课、模拟器和机器人这块做一个完整的学车流程管控,因模拟器和机器人的培训数据有限,这边就简单说明一下,下图是出人效率的统计,统计一个学员模拟器、实操的预约训练时长,可以按照学员的通关状态去查询,从而分析学员上模拟器和实车时长,合理安排培训

2)培训统计是统计每个科目模拟器和机器人的学员训练时长,签到时长训练时长以及通关时长,也是驾校用来分析,安排培训的,通过这里的数据分析缩短学员上实车的时间,从而减少培训成本,实现降本增效

3)学车流程监管的作用顾名思义就是全程把控学员的学成流程,模拟器及实车的学车时长通关次数,还可以追踪分析到每个学员的流程状态,初考还是不考,模拟车机器人是否通关,考试是否合格等等


统计报表-受理统计:
4. 受理统计
受理统计就是统计考前的几个状态学员的分布情况,重点注意的是受理失败的学员情况,查看失败原因,及时纠正在做面签,如果是学员的个人原因,告知学员,例如驾驶证吊销还未放开,酒驾,有吸毒史等等,有些地区是不更新受理失败的信息,车管所直接通知驾校来拿回审核不过的学员资料,并写上原因,这个需要注意。

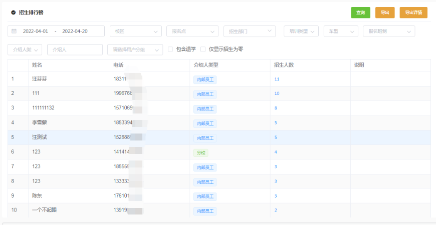
统计报表-招生排行榜:
5. 招生排行榜
统计每个人的招生情况,按年按月按日,时间自定义都可以,用来分析哪些人招的多,哪些人招的少,是工作人员还是代理,,可以导出排行榜,也可以导入详情,直观展示招生的多少。

统计报表-教练员信息统计:
6. 教练员信息统计
帮助驾校了解到教练招生、培训和油气耗统计,对应直营驾校做培训分析很有帮助,通过对招生培训的人数和产生的油气耗作对比,直观的展示出每个教练培训效率,从而有针对性的制定培训计划,例如招生多就让他多招生,通过率高的就让他专门去做培训,从而更好的去分工,更高效的完成培训。

统计报表-教练员绩效统计:
7. 教练绩效统计
统计教练的培训提成,总计绩效金额,学员数,以及详细的每个学员结算了多少钱,按月按年,定义时间查询都可以。

统计报表-预警信息:
8. 预警信息
预警信息主要的是通过设置对应项目的预警时间,在列表中展示对应状态下的学员数量,从而帮助驾校了解哪些学员已经达到预警的状态,需要了解并通知学员

例如档案到期的预警200天,在学员考过科目一档案还有200天的时候出现在档期到期的预警列表中,这时候我们可以通知到学员,抓紧练车;其他几个菜单和档案到期一样都是通过设置预警时间,达到条件的学员会自动出现在对应的列表中。

统计报表-学员分析:
9. 学员分析
1)库存统计这个菜单是全方位多维度的统计驾校的学员数量,每年的每个状态库存量,通过这些数据分析直观的看出学员的积压数量,分析目前哪个状态下的学员积压比较多,从而去分析制定对一个的培训计划,例如2020年科二状态的学员,档案不久就要到期了,可以安排教练通知名下学员抓紧时间过来练车,尽快拿证了,还有科目大状态的学员分析等等。



2)学员属性是通过学员的阶段、状态、性别、年龄、本异地、自定义分组、职业、来源以饼状图和条形图的方式展示大状态下学员数,例如通过观察职业统计,了解附近市场那个职业的学员较多,从而直营对应的招生活动来更多的吸引这些学员报名学车



3)学员热力图的功能是结合驾校一点通app登录使用的,学员登录以后可以看出学员位置分部情况,附近哪个村报名的学员多,那个厂报名的多等等,分析再去做宣传提升招生数量

驾校通app操作
驾校管理者也可以登录驾校通app进行查询,随时随地的了解驾校数据情况,方便,快捷更高效。
