极速导入抢先看!一键复制粘贴即可导入!
▶支持学员成绩、约考、取消约考、预录入受理等类型信息导入系统;
▶支持122官网数据直接复制粘贴到系统文本框, 直接开始导入;
▶支持导入信息的撤销;
考试信息导入操作指引
第一步:打开驾校通系统-学员考试记录 菜单,点击“成绩/约考导入”按钮
进入考试管理-学员考试记录 菜单,点击“成绩/约考导入”按钮。弹出文本框,保持页面不动,并按照页面操作步骤进行操作。
注意:粘贴的时候只能粘贴同一种类型的信息,比如,如果想导约考,就只粘贴约考信息。想要导成绩,就只粘贴成绩信息,不要把约考、成绩等一起粘贴到文本框,这样无法导入成功


第二步:登录122账号,进入学员信息页面复制学员信息
插入U盾,登录驾校122账号,选择“学员预约查询”“学员成绩查询”“取消预约查询”中的一项,进行复制。
以“学员预约查询”为例,操作如下:
进入“学员预约查询”页面,然后选中所有学员信息,点击鼠标右键复制,注意:不要复制表头信息,只复制学员信息。

第三步,粘贴信息到文本框,开始导入
将复制的学员信息粘贴到极速导入的文本框(第一步操作中弹出的文本框),系统会自动根据粘贴的内容识别,是哪一个类型的信息,然后点击右下角“预约导入”按钮(如果粘贴的是成绩,右下角就会是“成绩导入”按钮),出现 “数据导入任务已提交”的弹窗。导入完成后,会议弹框的形式提示您。


第四步,查看导入记录
方法1,上述三步做完后,弹出的导入完成的弹框直接打开。
方法2,考试管理管理-学员考试记录 菜单,点击页面“成绩/约考导入”按钮后面的小符号,选择“导入记录”,点开后即可查看历史导入记录。查看导入结果及导入失败的原因。如果导入有误,支持“撤销”


注:学员成绩和取消约考信息导入操作,请参考以上“学员预约”信息导入流程。
预录入/受理导入操作指引
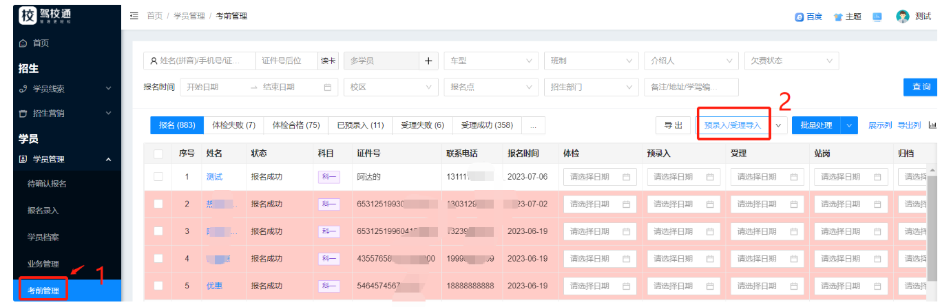
第一步:打开驾校通系统-考前管理 菜单,点击“预录入/受理导入”按钮
进入学员管理-考前管理 菜单,点击页面“预录入/受理导入”按钮,出文本框,保持页面不动。注意:单次仅支持导入同一类型数据


第二步:登录122账号,进入学员预录入页面复制学员信息
插入U盾,登录驾校122账号,进入“学员预录入”页面,
然后选中所有学员信息,点击鼠标右键复制,注意:不要复制表头信息,只复制学员信息。

第三步,粘贴信息到文本框,开始导入
将复制的学员信息粘贴到极速导入的文本框(第一步操作中弹出的文本框),点击预录入导入,出现 “数据导入任务已提交”的弹窗。导入完成后,会议弹框的形式提示您。


第四步,查看导入记录
方法1,上述三步做完后,弹出的导入完成的弹框直接打开。
方法2,学员管理-考前管理 菜单,点击页面“预录入/受理导入”按钮后面的小符号,选择“导入记录”,点开后即可查看历史导入记录。查看导入结果及导入失败的原因。如果导入有误,支持“撤销”

