评价管理-驾校评价
1.驾校评价查询:本校学员通过驾校一点通app对驾校进行评价,评价内容可上线展示,提升驾校口碑。

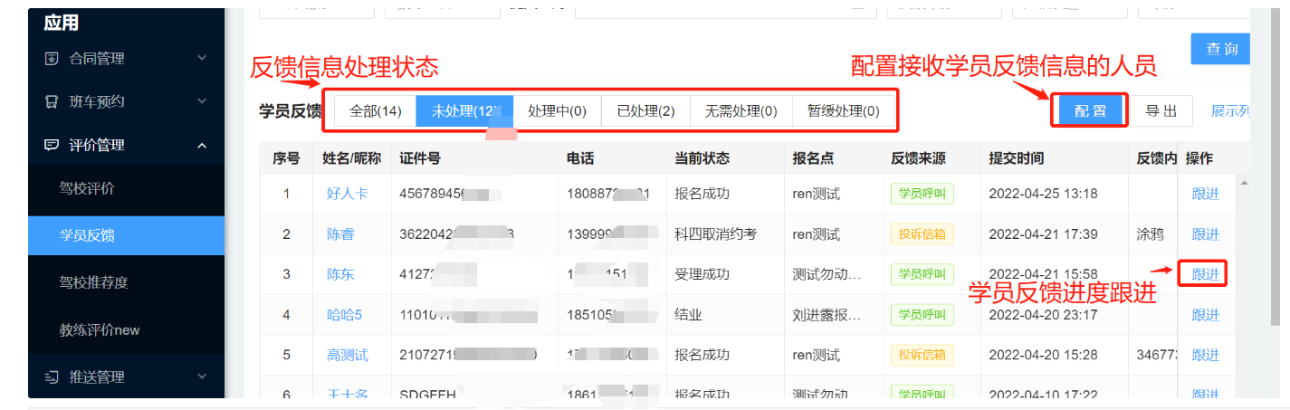
评价管理-学员反馈
2.学员反馈:1)配置--配置后的员工可以收到学员反馈信息,学员通过驾校一点通APP提交一键呼叫需求时系统自动短信推送给配置好的员工,提醒主动联系学员。2)学员可以将训练过程中遇到的问题和建议通过APP及时反馈,反馈后的信息驾校可在系统中做跟进处理,驾校也可以从学员反馈中了解教练和驾校的问题。

3)投诉信箱:学员通过驾校一点通APP可以将训练过程中的问题和建议通过驾校一点通APP进行反馈,方便驾校及时处理,提高学员满意度。

评价管理-驾校推荐度
3.驾校推荐度:系统设置了满意度调查问卷功能在学车期间每科合格时会推送四次,增加驾校转介绍机率

评价管理-教练评价NEW
4.教练评价NEW:
学员可以对教练教学和服务进行评价及打分 对评价较低的教练驾校可以查漏补缺针对性的提出改进措施,提高驾校服务质量。

学员端:驾校一点通APP
一键呼叫:学员在APP上提交一键呼叫需求,系统自动推送驾校指定负责人提醒主动联系学员

学员端驾校评价:本校学员通过驾校一点通app对驾校进行评价,评价内容可线上展示,提升驾校口碑。
