驾校通SaaS
首页
使用手册
从业资格资格管理
文章
学员档案
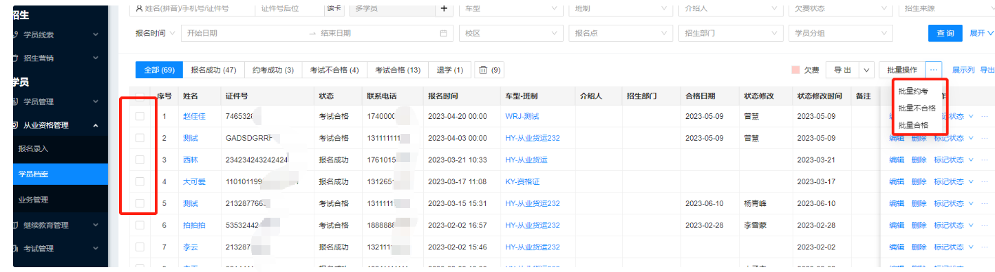
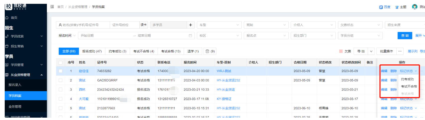
对于从业资格证学员的档案管理,可以编辑、删除、发合同、标记状态等。
也可以批量进行操作:选择要批量操作的内容,然后勾选学员前的“小白框”然后操作。
2026-04-07
本页目录